Contact Information
Return Home
send email
 

 




©2002, Bigelow Middle School, Engineering Technology Department

 


Orthographic Projection - Extra Credit #3

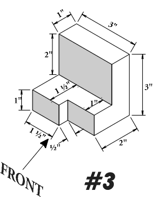
DIRECTIONS:    You must first print the worksheets in order to complete this activity.  Look at the shape below and complete an Orthographic Projection drawing for it. (front, top, right side, dimensions and isometric sketch)  It might help you to use the drawings we did during class as a reference.   When finished with the drawing, bring it to class and hand it in to Mr. Whitman.  (Worth up to 30 points)

RESOURCES:  Feel free to view the classroom resource we used to learn how to complete an Orthographic Projection Drawing.  Click HERE for the resource and directions.


PRINT

Click on the "PRINT" button to the left and select "print" on your computer.




Thank you for your interest in the program.
If you have comments or suggestions, please feel free to CONTACT me.

This web site is maintained by: Michael Whitman